
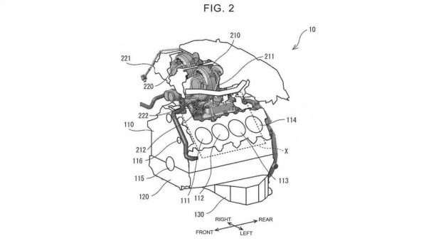
Японский автогигант Toyota разработал новый мощный мотор – речь идет о твин-турбо V8. Еще в 2020 году дала заявку на получение патента – теперь можно ознакомиться с характеристиками. Объем силовой установки составляет 4,0 литра, а в пиковый момент она может производить мощность в 600 л.с.
По предварительным данным, ее буду устанавливать на суперкары Lexus – примерить на себя новинку могут седаны LS и IS. Не исключено, что после такой разработки Lexus возобновит работу над проектом мощных машин LC.
Однако некоторые эксперты высказывают предположение, что «заряженные» автомобили Toyota также могут получить под капот новенький двигатель. Первопроходцем может стать пикап Tundra на рынке США – сделано это будет с целью конкуренции с «заряженными» пикапами RAM и Ford.
Не так давно появилась информация, что новый внедорожник Toyota Land Cruiser может обзавестись «заряженной» модификацией в будущем – в этом случае новый силовой агрегат придется как никогда кстати.





















Оставить ответ